Bosch se remarca prin varietatea de produse pe care le pune la dispozitia utilizatorilor, iar electrocasnicele se afla printre acestea. Brandul Bosch a castigat in ultimii ani, o cota de piata din ce in ce mai importanta, mai ales pe segmentul de electrocasnice incorporabile.
Aparatul face parte din noua gama de electrocasnice incorporabile propusa de producatorul Bosch pentru piata europeana. Aparatul Bosch DWF65AJ20T despre care vorbim astazi este o hota electrica decorativa tangentiala ce face parte din seria 4 de la Bosch si se incorporeaza in blatul mobilei de bucatarie. Aparatul are posibilitatea de a functiona cu horn cu evacuare afara sau fara horn prin recirculare, cu dimensiunile cu evacuare afara de (IxLxA) mm: 850/1190 x 590 x 308 si de (IxLxA) mm: 965/1190 x 590 x 308 cu recirculare avand o greutate neta de 15 Kg.
In functie de modul de montare a traseului de evacuare a aerului din bucatarie, pana la o valoare a tirajului poate face fata solicitarilor si fara pornirea ventilatorului electric, functionand pe baza tirajului natural. Hota are un design modern, de culoare alb lotus, iar materialul din care este construit este inox vopsit electro-static/cristal. Acest model iese de asemenea in evidenta si prin tehnologia avansata pe care se bazeaza, si care ii asigura performante inalte la evacuarea aerului viciat din bucatarie, cu cel mai mic consum posibil. Panoul de comanda cu butoane touch-screen in 4 segmente, unde setarile si lumina pot fi selectate simplu prin atingerea butonului senzitiv, indeplinesc functiile de: pornire/oprire, setare putere ventilare, comutator iluminare. Această interfata cu butoane moderne, cu indicator de saturare pentru filtru de grasime si carbune, ofera acces direct la functionarea hotei in bune conditii. Hota ne indica si cand este necesara efectuarea intretinerii filtrului anti grasimi. De asemenea ne indica si cand este necesara efectuarea schimbari filtrului de carbune activ.
Acest model de hota are un sistem de absorbtie periferica a aerului de inalta precizie inteligent si silentios. Acest sistemul redirectioneaza curenti de aer de admisie ai aparatului din partea exterioara a capotei catre partea centrala. Aceasta solutie optimizeaza consumul de energie, reduce zgomotul si face ca aparatul sa fie mult mai eficient. Panoul de cristal tangential in afara de aspectul estetic are rolul de a masca filtrul metalic din dotarea hotei.
Constructiv hota are un aspect robust, cu iluminare exterioara cu LED 2 x 1,5 W cu eficienta iluminare 100 lux/W, fiind incadrata in clasa A. Iar sistemul de filtrare este format din 2 filtre din aluminiu de grasime multistrat, unul sub panoul de sticla si al doi-lea in pozitie orizontala, cu eficienta de retinere a grasimilor de 76,1% de clasa C. Aceasta solutie constructiva mareste eficienta de extragere a hotei putand folosi plita electrica la capacitate maxima cu toate ochiurile in functie.
Aceste filtre au rolul de a reţine particulele de grăsime din aburi, care altfel s-ar condensa pe pereţii interiori ai hotei şi ai tubulaturii, după care ar începe să curgă ca o mâzgă lipicioasă. Aceste filtre metalice se spală odată pe lună sau mai des dacă este necesar. Spălarea acestor filtre este simplă, necesită doar apă fierbinte şi detergent sau săpun lichid, ori pot fi introduse în maşina de spălat vase. În ambele cazuri vom fi atenţi să nu le îndoim. Acest model are un sistem de ventilaţie cu functie dubla, care extrage vapori uniform si eficient, producand o aerisire rapida şi uniforma. Aerul viciat este extras si dispersat in exterior/interior de un ventilator printr-o tubulatura cu un diametru de 150 mm si de 120 mm atasat, cu posibilitati variate de montaj pentru camin (horn), conform cu normativul EU Nr. 65/2014. În timpul funcţionării hotei cu evacuare este important să asigurăm pătrunderea în bucătărie a unui flux corespunzător de aer proaspăt din exterior. Pentru aceasta vom deschide geamul din bucătărie sau fereastra dintr-o altă încăpere şi crăpăm uşa bucătăriei pentru a permite intrarea aerului. Dacă nu se asigură volumul de aer necesar, hota nu-şi va putea îndeplini misiunea şi pe deasupra îi suprasolicităm motorul. In plus la acest model cu evacuare afara este recomandabil ca circuitul de eliminare a aerului să fie cât mai scurt şi drept, pe cât posibil fără coturi. Ca şi conductă de aer este preferabil să se folosească ţevi netede. Daca optam pentru modul de evacuare prin recirculare in interior, acest model are in dotare optional un kit de recirculare cu un filtru din carbon cu kit de Clean Air inclus, care are rolul de a neutraliza mirosurile neplacute din bucatarie
In cazul functionari cu evacuare prin recirculare acest model are protectie motor in cazul imbacsiri filtrelor de carbune activ, oprind prin protectie motorul. Această soluţie constructiva înseamnă siguranţă si eficienta sporită în utilizare şi o curăţare mai uşoară.
Din punct de vedere energetic hota incorporabila decorativa Bosch DWF65AJ20T cu puterea instalata de 216 W se remarca prin consumul energetic mic de 75 kWh/an facand parte din clasa de consum B, dupa fisa tehnica.
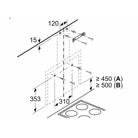
Calculul consumului energetic a fost facut intr-un regim mediu de operare al hotei, de o ora la nivelul 2 de extractie si cu sistemul de iluminare aprins timp de 2 ore pe zi. Acest consum energetic i se datoreaza si motorului BLDC (brushless) Eco Silene Drive cu puterea de 210 W din dotare, avand turbina cu 2 circuite de aer, cu tehnologii de izolare fonice unice, care fac totul posibil ca energie consumata sa fie mica. Acest motor Eco Silence Drive nu foloseste perii de carbon, fiind actionat de un magnet permanent ce nu provoaca o frictiune mecanica si opereaza cu 0% pierderi de putere. Acest motor Eco din punct de vedere al energiei consumate, are si un zgomot redus, iar fiabilitatea lui este foarte mare. În ceea ce priveşte zgomotul, nu aveţi de ce să vă faceţi griji, acesta fiind un model destul de silenţios, hota produce un zgomot secvential de la min 52 dB la maxim 68 dB, putand fi folosita fara probleme chiar si pe timp de noapte. La acest model racordat la un sistem de tubulatură cu evacuare afara, 50 % din zgomot este direcționat în exterior. Debitul este de la minim 231 la maxim 530 mc/h Iar puterea de ventilare a acestui tip de hota prin recirculare, are la fel 3 trepte de ventilare. Iar debitul este de maxim 350 mc/h. Distanta minima recomandata pentru montaj fata de o plita electrica este de 45 cm si fata de o plita ce functioneaza cu gaz metan este de 50 cm.
Hota este dotata tehnologic si cu functia de economisire de energie, pentru functionarea in sistem Stand-By cu afisaj dezactivat avand consum de 0,2 W/h sau consum zero cu intreruperea alimentari cu curent electric. Acest model de hota cu evacuare afara este suficient de puternica pentru a fi instalata intr-o bucatarie cu suprafata utila maxima de 18 – 19 mp. Debitul de aer cand hota functioneaza la modul de recirculare este mai mic cu 27%. Pentru a accesa si un alt produs ce face parte din categoria electrocasnice si doriti sa aflati mai multe informatii tehnice, scrieti in spatiul Search din dreapta sus, produsul pe care doriti sa-l achizitionati, sau din ce categorie face parte; De exemplu: aer conditionat, combina frigorifica, masina de spalat etc. si motorul de cautare va prezenta produsul cautat sau asemanator din baza directa de date.
Recomandare:
Este alegerea perfecta daca iti doresti o hota performanta care sa faca fata cu brio indiferent de situatie si cerinte la un pret foarte bun: Verifica oferte pret
Primesti garantie 2 ani cu posibilitate de extindere, daca o comanzi de aici
Deasemenea daca ai noroc, zilele acestea o poti achizitiona la reducere, avand un discount semnificativ: Verifica pret redus
