Faber se remarca prin varietatea de produse pe care le pune la dispozitia utilizatorilor, iar hotele electrice se afla printre acestea. Brand-ul firmei Faber a fost fondat in anul 1955 de catre profesorul Abramo Galassi, care de atunci a ocupat fara intrerupere functia de presedinte al consiliului de administratie. De retinut ca in anul 1963, Faber a produs prima hota de extractie electrica din Europa. Astazi Faber este specializati in special in producerea electrocasnice fiind prezent in 13 tari de pe 3 continente, inclusiv Europa si America de Nord. In America de Nord, hotele Faber concureaza pe piata impotriva unor marci premium precum Fagor, Zephyr, Kobe, GE Monogram sau Wind Crest. De acum aceste hote electrice au intrat si pe piata din Romania.
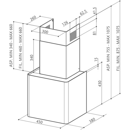
Aparatul Faber LITHOS EG6 WH MATT LED A45 fabricat in Italia despre care vorbim astazi, este o hota electrica decorativa ce se incorporeaza in blatul mobilei de bucatarie, avand dimensiunile cu evacuare afara de: (IxLxA) mm: 920/1024 x 450 x 380 si o greutate de 16 Kg. Iar dimensiunile hotei cand functioneaza prin recirculare sunt de:(IxLxA) mm: 905/1014 x 450 x 380.
Hota incorporabila decorativa Faber LITHOS EG6 WH MATT LED A45 are in dotare elemente constructive telescopice, ce culiseaza pe verticala. La acest model marimea pe verticala a corpului poate fi extinsă la utilizare, fiind reglata la o distanta adecvata fata de zona de arzatoare. Distanta minima recomandata pentru montaj fata de o plita electrica este de 50 cm si fata de o plita cu functionare pe gaz metan este de 65 cm. Hota construita in stil cubist are si un design modern, de culoare alb lotus/argintie, iar materialul din care este construit este otel inox. Pe langa faptul ca aparatul este folosit pentru ventilatie, hota este si un element decorativ din bucataria dvs., oferind functionalitatea hotei, pentru a se potrivi cu nevoilor estetice ale dumneavoastra. Cu alegerea potrivita a acestui aparat de bucatarie, contribuiti la curatenia aerului din bucatarie, cu un obicei de a porni hota la începutul unei sesiuni de gatit si sa il opriti la cateva minute dupa ce ati finalizat sesiunea de gatit.
Acest model iese de asemenea in evidenta si prin tehnologia avansata pe care se bazeaza, si care ii asigura performante inalte la evacuarea aerului viciat din bucatarie, cu cel mai mic consum posibil. Panoul de comanda pozitionat frontal, cu control electronic, este actionat de 5 butoane push-button cu LED, de unde avem posibilitatea de a activa functionarea hotei la viteza 1, 2, 3, 4 sau sistemul de iluminare. Daca apasam primul buton hota functioneaza la viteza 1, iar daca repetam apasarea hota se opreste. Daca apasam al doi-lea buton hota functioneaza la viteza 2, iar daca repetam apasarea hota se comuta la viteza 1. Daca apasam al trei-lea buton hota functioneaza la viteza 3, iar daca repetam apasarea hota se comuta la viteza 2. Daca apasam al patru-lea buton hota functioneaza la viteza 4 timp de maxim 6 minute dupa care se comuta automat la viteza 3. Sistemul de iluminare functioneaza separat fata de viteza de extractie a hotei si se activeaza cu ajutorul butonului dedicat in acest scop. Cu primul buton avem posibilitatea de a opri motorul, trecand mereu prin prima viteza de extractie. Datorita unei selectari usoare si simple a setarilor prin intermediul unor comenzi prin apasare, aceasta hota este foarte usor de controlat. Aceasta interfata cu butoane clasice, ofera acces direct la functionarea hotei in bune conditii.
Acest model de hota are un sistem de absorbtie perimetral a aerului de inalta precizie inteligent si silentios. Acest sistemul redirectioneaza curenti de aer de admisie ai aparatului din partea exterioara a capotei orizontale din sticla catre partea centrala unde se afla suprafata filtranta. In plus sistemul de difuzie al aerului absorbit printr-un difuzor special, asigura performante exceptionale de extractie cu zgomot redus, chiar si cu trasee lungi de evacuare a aerului. Aceasta solutie optimizeaza si consumul energetic si face ca aparatul sa fie mult mai eficient. Cu aceasta metoda de aspiratie Energy Diffuser creste eficienta hotei cu aproximativ 20% comparativ cu o unitate de aspiratie cu aceeasi putere a motorului, la un nivel de zgomot mai mic de 10%.
Constructiv hota are un aspect robust, cu iluminare exterioara cu doua proiectoare tip LED S1001 4000K cu clasa de eficienta iluminare A. Sistemul de iluminare are eficienta de iluminare de 91 lux/W. Hota are in dotare si un filtru de grasime din aluminiu, cu eficienta de filtrare a grasimilor de 75,1%, fiind incadrat in clasa C. Acest filtru retine particulele de grasime din aburi, care altfel s-ar condensa pe peretii interiori ai hotei si ai tubulaturii, după care ar incepe sa curga ca o mazga lipicioasa. Acest filtru din aluminiu se spala odata pe luna sau mai des daca este necesar. Spalarea acestui filtru este simpla, necesita doar apa fierbinte şi detergent sau sapun lichid, ori poate fi introdus in masina de spalat vase. In ambele cazuri vom fi atenti sa nu-l indoim. Acest model are un sistem de ventilatie cu functie dubla, care extrage vapori uniform si eficient, producand o aerisire rapida si uniforma. Aerul viciat este extras si dispersat in exterior/interior de un ventilator printr-o tubulatura cu un diametru de 120/150 mm. În timpul funcţionării hotei cu evacuare afara este important să asigurăm pătrunderea în bucătărie a unui flux corespunzător de aer proaspăt din exterior. Pentru aceasta vom deschide geamul din bucătărie sau fereastra dintr-o altă încăpere şi crăpăm uşa bucătăriei pentru a permite intrarea aerului. Dacă nu se asigură volumul de aer necesar, hota nu-şi va putea îndeplini misiunea şi pe deasupra îi suprasolicităm motorul. In plus la acest model cu evacuare afara este recomandabil ca circuitul de eliminare a aerului să fie cât mai scurt şi drept, pe cât posibil fără coturi. Ca şi conductă de aer este preferabil să se folosească ţevi netede. Daca optam pentru modul de functionare cu evacuare prin recirculare in interior, aparatul are in dotare si un sistem de filtrare din carbune activ Faber 112.0157.240, care are rolul de a neutraliza mirosurile neplacute din bucatarie.
In cazul functionari cu evacuare prin recirculare acest model are protectie motor in cazul imbacsiri sistemului de filtrare, oprind prin protectie motorul. Corpul hotei este prevăzută pe exterior cu o suprafaţă din inox perfect netedă, fără şuruburi sau nituri. Această soluţie înseamnă siguranţă sporită în utilizare şi curăţare mai uşoară.
Din punct de vedere energetic hota incorporabila decorativa Faber LITHOS EG6 WH MATT LED A45 cu puterea instalata de 144 W se remarca prin consumul energetic mic de 82 kWh/an facand parte din clasa de consum C.
Calculul consumului energetic a fost facut intr-un regim mediu de operare al hotei, de o ora la nivelul 2 de extractie si cu sistemul de iluminare aprins timp de 2 ore pe zi. Acest consum energetic i se datoreaza motorului universal cu puterea de 140 W din dotare, cu tehnologii de izolare fonice unice care face totul posibil ca energie consumata sa fie mica. În ceea ce priveşte zgomotul, nu aveţi de ce să vă faceţi griji, acesta fiind un model destul de silenţios, hota produce un zgomot secvential de cele 3 trepte de ventilare plus intensiva de (54, 62, 67) dB si intensiv de 69 dB, putand fi folosita fara probleme chiar si pe timp de noapte. Puterea de ventilare a acestui tip de hota cu 3 trepte plus a patra viteza intensiva, este de la minim 285 mc/h la maxim 535 mc/h si intensiva de 585 mc/h. Acest model de hota cu evacuare afara este suficient de puternic pentru a fi instalat intr-o bucatarie cu suprafata utila maxima de 19 – 20 mp. La modul de functionare prin recirculare suprafata utila maxima este mai mica cu 10%. Acest mod de functionare prin recirculare este indicat mai ales in anotimpul rece, deoarece nu mai este nevoie de priza de aer care sa comunice cu exteriorul si sa introduca aer rece in locuinta. Pentru a accesa si un alt produs ce face parte din categoria electrocasnice si doriti sa aflati mai multe informatii tehnice, scrieti in spatiul Search din dreapta sus, produsul pe care doriti sa-l achizitionati, sau din ce categorie face parte; De exemplu: aer conditionat, combina frigorifica, masina de spalat etc. si motorul de cautare va prezenta produsul cautat sau asemanator din baza directa de date.
Recomandare:
Este alegerea perfecta daca iti doresti o hota performanta care sa faca fata cu brio indiferent de situatie si cerinte la un pret foarte bun: Verifica oferte pret
Primesti garantie 2 ani daca o comanzi de aici
Deasemenea daca ai noroc, zilele acestea o poti achizitiona la reducere, avand un discount semnificativ: Verifica pret redus

https://youtu.be/AdoefVTgPtE